51109/HV推力球轴承 参数尺寸信息
轴承类型:
推力球轴承
国内新型号:
51109/HV
国内旧型号:
8109X
内径(mm):
45.0000
外径(mm):
65.0000
宽度(mm):
14.0000
脂润滑转速:
-
(r/min)
Cor(kN):
-
Cr(kN):
-
油润滑转速:
-
(r/min)
重量(KG):
0.141
51109/HV 轴承型号对照
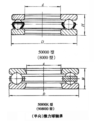
51109/HV推力球轴承 样本结构图
| 轴承类型 | 推力球轴承 | 规格(d×D×B) | - |
|---|---|---|---|
| 子分类 | 单向推力球轴承 | 国内旧型号 | 8109X |
| 国内新型号 | 51109/HV | 重量(kg) | 0.141 |
内径:45.0000,外径:65.0000,宽度:14.0000,同尺寸的进口轴承型号
SKF 51109 V/HR11Q1
SKF 51109 V/HR11T1
SKF 51109 V/HR22Q2
SKF 51109 V/HR22T2
NACHI 51109
KOYO 51109
IKO AZ 456514
INA 81109-TV
NTN 81109T2
NTN 51109
NSK 51109
NSK 45 TMP 11
FAG 51109
SKF 81109 TN
SKF 51109
内径:45.0000,外径:65.0000,宽度:14.0000,同尺寸的国产轴承型号
国产 51109/P4
国产 51109/P5
国产 51109/P6
国产 81109
国产 KOW51109
国产 51109
国产 51109/HV
国产 51109M
FYB 81109
HGF 81109
HXW 51109
HXW 81109
HZ 51109
QLHXY 51109
SZ 51109
TCC 51109
XZSY 51109
AAA 51109
QC 51109
NXZ 51109
LYC 51109M/P4
LYC 51109
HRB 81109
HRB 51109
推力球轴承类型介绍
推力球轴承是分离型轴承,根据其结构形式分为单向推力球和双向推力球轴承。单向推力球轴承可承受一个方向的轴向载荷,双向推力球轴承可承受两个方向的轴向载荷。它们均不能承受径向载荷。推力球轴承还有带座垫的结构,由于座垫的安装面呈球面形,故轴承具有调心性能,可以减少安装误差的影响。推力球轴承主要应用于汽车、机床等行业。
