RB218-56外球面轴承 参数尺寸信息
轴承类型:
外球面轴承
国内新型号:
RB218-56
国内旧型号:
-
内径(mm):
88.9000
外径(mm):
160.0000
宽度(mm):
96.0000
脂润滑转速:
-
(r/min)
Cor(kN):
-
Cr(kN):
-
油润滑转速:
-
(r/min)
重量(KG):
4.560
RB218-56 轴承型号对照
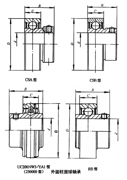
RB218-56外球面轴承 样本结构图
| 轴承类型 | 外球面轴承 | 规格(d×D×B) | - |
|---|---|---|---|
| 子分类 | 外圆柱面球轴承 | 国内旧型号 | - |
| 国内新型号 | RB218-56 | 重量(kg) | 4.560 |
内径:88.9000,外径:160.0000,宽度:96.0000,同尺寸的进口轴承型号
FAG UC218-56
内径:88.9000,外径:160.0000,宽度:96.0000,同尺寸的国产轴承型号
国产 RB218-56
国产 UC218-56
STZ UC218-56
HBF UC218-56
外球面轴承类型介绍
外球面球进口轴承实际上是深沟球进口轴承的一种变型,特点是它的外圈外径表面为球面,可以配入进口轴承座相应的凹球面内起到调心的作用。
虽然它的基本性能与深沟球轴承应是相似的,但是由于这种轴承大都应用在比较粗糙的机械中,安装定位不够精确,轴与座孔的轴线对中性差,或是轴长而挠度大等的情况下,而且轴承本身精度也不够高,有的结构也较粗糙,因此共性能的实际表现比较相同规格的深沟球轴承要打上相当的折扣。例如带顶丝的外球面球轴承应用于刚度差挠度大的通轴,这种轴承两面带密封圈,能严密防止污物侵入,出厂时巳装填适量的润滑剂,安装前不需清洗,不需补加润滑剂,轴承内圈凸出端上的顶丝螺钉在轴上紧固时.允许的轴向负荷不得超过额定动负荷的20%。
带偏心套的外球面球轴承与带顶丝的外球面轴承性能基本相同,只是顶丝不在内圈上,而是在偏心套上。圆锥孔外球面球轴承的内孔为带1:12锥度的圆锥孔,可直接安装在锥形轴上,或借助紧定衬套安装在无轴肩光轴上,并可微调轴承游隙。
虽然它的基本性能与深沟球轴承应是相似的,但是由于这种轴承大都应用在比较粗糙的机械中,安装定位不够精确,轴与座孔的轴线对中性差,或是轴长而挠度大等的情况下,而且轴承本身精度也不够高,有的结构也较粗糙,因此共性能的实际表现比较相同规格的深沟球轴承要打上相当的折扣。例如带顶丝的外球面球轴承应用于刚度差挠度大的通轴,这种轴承两面带密封圈,能严密防止污物侵入,出厂时巳装填适量的润滑剂,安装前不需清洗,不需补加润滑剂,轴承内圈凸出端上的顶丝螺钉在轴上紧固时.允许的轴向负荷不得超过额定动负荷的20%。
带偏心套的外球面球轴承与带顶丝的外球面轴承性能基本相同,只是顶丝不在内圈上,而是在偏心套上。圆锥孔外球面球轴承的内孔为带1:12锥度的圆锥孔,可直接安装在锥形轴上,或借助紧定衬套安装在无轴肩光轴上,并可微调轴承游隙。
